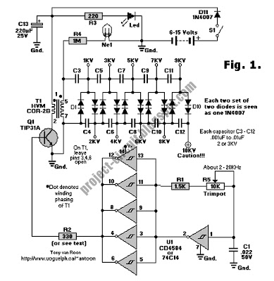
This is a schematic circuit for voltage generator. This circuit is built by 74C14 IC as generator. This is the figure of the circuit.
This circuit is using power supply 12 VDC. The input to the circuit is then amplified to provide 10000 VDC output. Inside the circuit is there a DC to DC converter. The output of the converter is fed into 10 stage using high voltage multiplier to produce 10,000 VDC.
